amazon-photo-patent
May 25
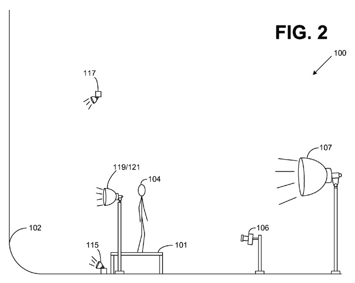
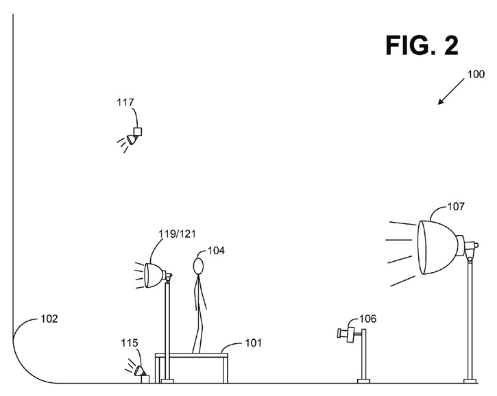
Published at 725 × 578 in Amazon Patents “Photos Against a White Background”
Posted on May 25, 2014. Bookmark the permalink. Leave a comment.
Leave a Comment Cancel reply
This site uses Akismet to reduce spam. Learn how your comment data is processed.




Leave a comment
Comments 0